海淀上地领衔,2025北京第八轮拟供地清单出炉
海淀上地领衔,2025北京第八轮拟供地清单出炉
北京宅地,再上新。
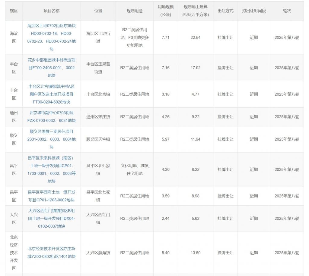
10 月 16 日,2025 北京市第八轮拟供应商品住宅用地清单被公布。从北京规自委官网信息看,本轮拟供宅地共有 9 宗,总土地面积约 44 万,总建筑规模约 103 万平米,这些地块都将在近期出让。
就区域分布上,呈 " 多点开花 "。海淀区占据 1 宗,来自上地板块;丰台区有 2 宗,其中 1 宗位于三环外的首经贸板块;其余的 6 宗则分别来自昌平区(2 宗)、通州区(1 宗)、顺义区(1 宗)、大兴区(1 宗)、经济开发区(1 宗)。

图源:北京规自委官网
结合过往市场热度看,海淀上地 0702 街区东地块无疑最优质。
该地块处在上地西路和马连洼北路交汇处,京新高速的西侧,紧挨北大创业园,距离 13 号线和昌平线换乘站—清河站约 1 公里,距离另一地铁站—上地站约 1.5 公里。北侧约 1 公里处即是有名的中关村软件园,腾讯、联想等大厂遍布。

从规模上看,这宗地块也不小,用地面积约 7.71 万平米,建筑规模约 22.54 万平米。被分成 3 个小地块,2 块为住宅,1 块为多功能用地。
地块周边聚集不少高端项目,西北侧 100 米外即是今年上半年很火的和樾望云和和樾玉鸣两个项目,指导价为 10.5 万 /㎡;南侧 1 公里有中海今年以 10.23 万 /㎡楼面价拿下的树村地块,以及曾经火爆的学府壹号院和圆明天颂两豪宅;东南侧 2 公里外是建发海晏和华润臻澐,单价在 13 万 /㎡左右。

周边的配套可以说也很丰富。1 公里范围内有华联 BHGMall 上地店,稍远一些有清河万象汇、西北旺万象汇等商业体;上地医院、解放军总医院第八医学中心、上地公园、树村郊野公园等环伺左右。
另一宗优质宅地来自于丰台花乡板块。
这宗 FT00-2405-0001、0002 地块,位于丰台区玉泉营街道,处在南三环和南四环之间,邻近地铁房山线花乡东桥站(约 300 米)、地铁 10 号线与房山线换乘首经贸站(约 700 米)。该地块为 R2 二类居住用地,用地面积约 7.16 万平米,建筑规模约 17.92 万平米。

地块所在版块是丰台区较为成熟区域,地块往西是天坛医院,北边是北京口腔医院;往南不远是花乡奥莱村,丰科万达、资和信百货、鑫嘉汇购物中心等商业也都在 3 公里范围内。

板块内多为 10 年楼龄以上的次新房项目和老旧小区,多年无新项目面市。附近新房主要分布在总部基地和丽泽板块,总部基地的北京隅 · 西颂和中建 · 云境单价在 8.3 万 /㎡左右;丽泽的中海丽金府等项目单价基本在 10 万 /㎡以上。
对于此次清单中的其他几宗地块,可以说也各有千秋。有的离地铁很近,交通方便,比如亦庄新城 YZ00-0802 街区 1401 地块(8 号线瀛海站)、昌平北七家 CP01-1703-0001、0002、0003 等地块(17 号线未来科学城站)、丰台张郭庄 FT00-0204-6028 地块(14 号线张郭庄站);有的发展空间较大,如副中心宋庄地块、大兴西红门地块、昌平平西府地块等,所在的板块都在积极开发中,未来城市面貌值得期待。